五月的风裹挟着康乃馨的芬芳,母亲节翩然而至。在这特别的日子,人们惊喜地发现:那些在母婴赛道深耕的企业,正在将"爱"镌刻进每一份产品、每一次服务、每一项创新之中,用实际行动诠释“以爱之名,致敬母爱”的深刻内涵。今日,爱企查将带领大家一同走进这些企业的故事,感受他们为母亲们带来的温暖与关怀。
一、贝亲:母婴护理的温馨守护者
贝亲,这个源自日本的母婴用品品牌,创始于1957年,自2002年进入中国市场以来,便以其高品质和种类齐全的母婴用品和服务,赢得了无数家庭的信赖。贝亲深知每一位母亲对孩子的关爱与呵护,致力于为中国的母婴家庭提供安全、可靠的产品,因此,在产品研发上,贝亲始终将“放心、安全、信赖”作为品牌价值的基石。贝亲产品涵盖了母乳喂养、奶瓶奶嘴、宝宝肌肤护理、衣物清洗、水杯餐具等抚育宝宝的方方面面。
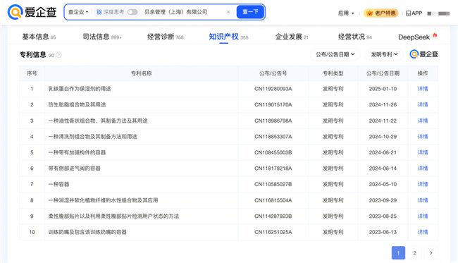
爱企查APP显示,贝亲品牌所属企业为贝亲管理(上海)有限公司,注册资本200万美元,法定代表人兼董事长为周剑峰。

爱企查专利信息显示,贝亲管理(上海)有限公司已申请专利157项,其中包括外观设计专利121项,发明专利20项,实用新型专利16项,彰显了贝亲在母婴用品领域的深厚技术底蕴和持续创新能力。



二、好奇:金佰利旗下的纸尿裤专家
好奇,作为美国金佰利公司旗下的纸尿裤品牌,诞生于1978年。好奇从每一个细节为宝宝考虑,自进入中国市场以来,便以其柔软、亲肤、透气、干爽的产品特性,让宝宝能够在他的世界无拘无束的自由探索、发现、快乐地成长,给中国宝宝带来了世界级的关爱。
爱企查APP显示,金佰利(中国)有限公司注册时间为1998年1月,注册资本达8,431.964万美元。主营产品包括护肤或保湿产品、女性卫生用品、沐浴用品、护肤品、面巾纸或手帕、婴儿卫生用品等。

企业品牌项目信息显示,金佰利(中国)有限公司拥有品牌项目5条,分别为大肚皮助手、好奇、舒洁、金佰利、得伴。

三、郁美净:儿童护肤的国民品牌
郁美净,这个承载着无数人童年记忆的儿童护肤品品牌,自1958年诞生以来,便致力于为孩子们提供安全、温和的护肤产品。郁美净集团是一家集化妆品研发、香料香精、电子商务等产业于一体的大型现代化企业集团,其发展历程充满了对品质的坚持和对创新的追求,其儿童系列护肤品如郁美净儿童霜、高级儿童霜等,都采用了国际标准,并获得了采用国际标准产品标志证书。如今,郁美净的产品已经远销海外,赢得了全球消费者的喜爱。
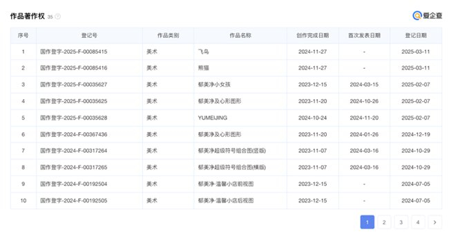
爱企查APP显示,郁美净关联企业为天津郁美净集团有限公司,注册时间2000年6月,注册资本4102.15万元。专利信息显示,截至目前,天津郁美净集团有限公司已申请725项专利,其中绝大多数为外观设计专利。此外,作品著作权信息显示,该公司已登记35项著作权。



四、飞鹤:国产奶粉的领军者
飞鹤,这个始建于1962年的奶粉品牌,是中国最早的奶粉企业之一。多年来,飞鹤一直专注于针对中国人体质研制奶粉,对中国宝宝体质特点及需求展开大量研究。飞鹤用了10年时间,在北纬47度世界黄金奶源带上打造了中国婴幼儿奶粉行业第一条完整的全产业链,确保了奶粉的品质和安全。从成立之初,飞鹤就坚持自主研发,不断引进先进技术,提升奶粉的品质和营养价值。
爱企查APP显示,飞鹤所属企业为黑龙江飞鹤乳业有限公司,该公司注册资本为4500万美元,法定代表人兼总经理为孙建国。

对外投资信息显示,黑龙江飞鹤乳业有限公司对外投资企业33家,截至目前22家处于存续状态。

股权穿透信息显示,黑龙江飞鹤乳业有限公司的直接持股股东由飞鹤中国营养香港有限公司全资持有,持股比例为100%,认缴金额4500万美元。

母爱如涓涓细流,爱企查向每一位辛勤付出的母亲致以最诚挚的敬意,她们用无私的奉献诠释着母爱的伟大,为家庭筑起温暖的港湾。同时,也要特别感谢那些积极践行社会责任的企业,将关怀与温暖传递给母婴群体。
作为企业信息查询优选平台,爱企查为用户提供一站式企业信息查询服务,累计用户5亿+。未来将继续优化升级产品及服务,以技术创新打破信息壁垒,助推构建更安全、更透明的商查环境。

(来源:点财网)






